苹果公司近日获得了一项引人注目的技术专利,未来 iPhone 之间的通信可以不再依赖蓝牙和 Wi-Fi,苹果正考虑让隔空投送(AirDrop)使用 Li-Fi 传输数据。

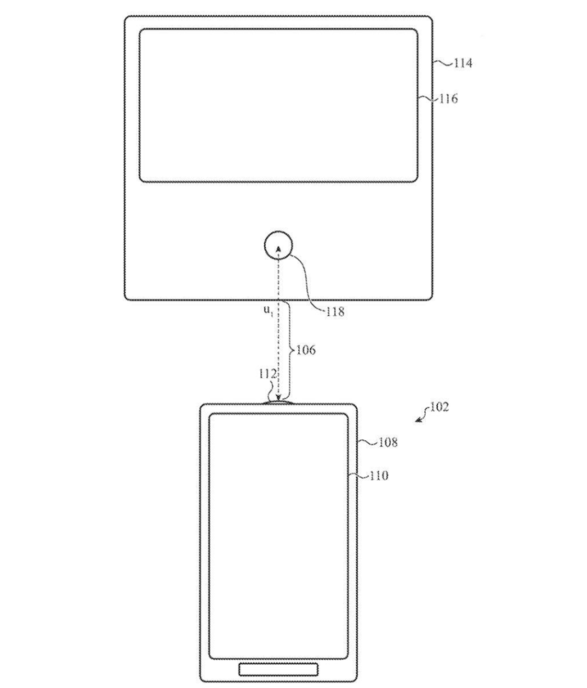
这项专利名为《用于便携式电子设备的定向自由空间光通信系统中的光学结构》,虽然并未直接提及 Li-Fi,但从专利描述中可以看出,其核心技术是利用光通信改善数据传输。
苹果曾在 Mac 中使用红外线(IR)发射器/接收器,理论上可用于任何短距离数据交换。但在实际应用中,红外线往往被用于 Siri Remote 等遥控器,因为红外线传输速度较慢,而且设备之间必须相互精确对准。
苹果表示,只要两台设备处于近距离且精确对准的状态,光通信相比传统的 Wi-Fi 或蓝牙更安全、更快速。而且相比较 Wi-Fi、NFC 和蓝牙等传统设备到设备数据通信协议,Li-Fi 可以提高数据传输速率(从每秒数 GB 到每秒数 TB)、提高数据传输隐私性和提高数据传输安全性。

尽管专利中仅两次提到“Phone”,但可以合理推断这项技术是为 iPhone 设计的。苹果表示,除了手机、平板电脑、笔记本电脑和台式机,该专利还可应用于航空、航海、潜水艇或陆地车辆控制设备或网络设备。
虽然这项专利为苹果未来可能的创新提供了思路,但实际应用到产品中还需要时间。