据美国商标和专利局(USPTO)近日公示的清单,苹果公司获得了一项圆柱形微机电系统(MEMS)的音频组件专利,未来可应用于 iPad、iPhone、MacBook、AirPods 等产品中。

数码产品体积日益缩小的同时,用户对高品质音频的需求也越来越高,而越高质量的音频体验往往需要更大的扬声器元件,如何调和两者成为摆在苹果等厂商面前的挑战。
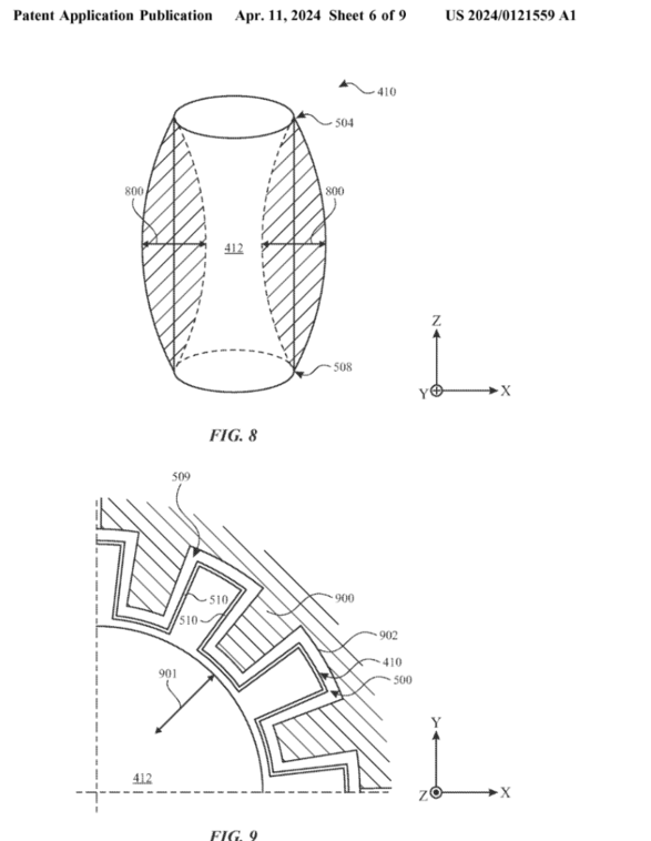
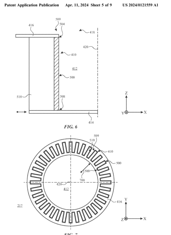
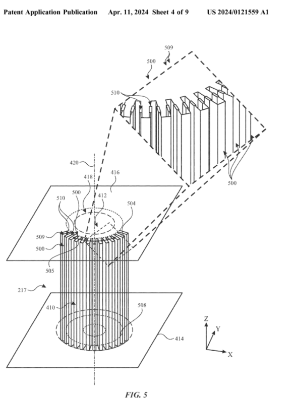
苹果在专利中探索了圆柱形波纹 MEMS 结构,采用开放式圆柱形磁芯可与 MEMS 扬声器流体耦合,可安装在扬声器的前部音量(front volume)和后部音量(back volume)之间。
在外加电压的作用下,圆柱形 MEMS 结构可发生变形,使上下固定边缘之间的位置发生弯曲,这些固定边缘密封地固定在上下基板上,以产生声音,同时防止上下固定边缘周围的空气外泄。
专利相关设计草图如下:


