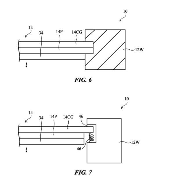
据美国商标和专利局(USPTO)公示的清单,苹果公司获得了一项关于折叠屏幕手机的创新专利,该专利重点介绍了一种全新的弹簧层概念,旨在减轻折叠时的压力,从而显著增强设备的耐用性。

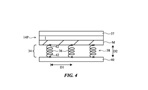
苹果公司在专利中详细描述了这一弹簧层的构成。它主要由金属弹簧阵列组成,同时内嵌有力传感结构(如应变计)等传感器。专利中还表示如果有需要,可将泡沫柱和其他可压缩结构与弹簧穿插在一起,以帮助调整弹簧层的性能。
这种弹簧层可采用多种柔性金属制造,如弹簧钢、镍铬铝合金、铍铜合金、不锈钢、钴镍合金等。




苹果公司表示,在折叠屏设备中引入弹簧层的设计,不仅能够缓解设备在受到撞击、挤压等外部事件时的压力,更能有效减轻屏幕在反复折叠和展开过程中产生的应力,从而显著提高折叠屏设备的耐用性和使用寿命。
苹果还强调,这种弹簧层的设计能够有效缓解外部压力,防止设备出现过度局部变形的情况。