苹果终于也将折叠屏 iPhone 提上了日程!
根据美国商标和专利局(USPTO)近日公示的清单,苹果公司获得了一项关于折叠屏 iPhone 的新专利,最大的亮点在于独特的铰链设计,可以实现向内、向外双向折叠。

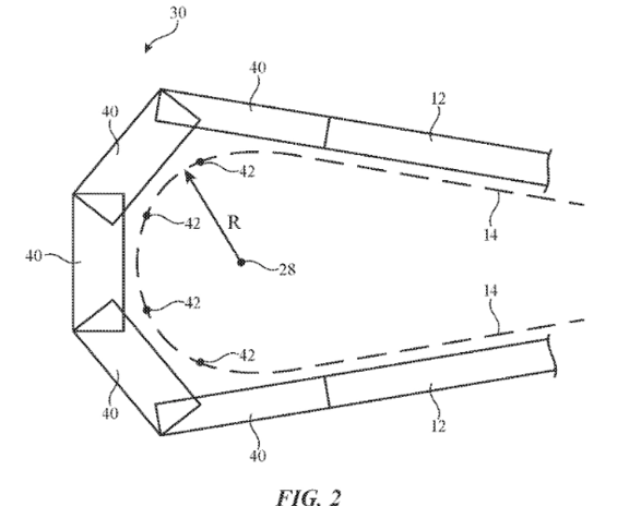
目前主流折叠屏手机只能实现向内或者向外单向折叠方式,而苹果公司在这项专利中探索了双向折叠方式,相关图片中如下:

图 2 中使用多个 #40 铰链连接,然后彼此耦合以旋转运动,让外壳#12 的第一部分和第二部分之间串联延伸,不过专利图来看相邻铰链连杆的整体旋转量可能会受到限制。

图 5 中展示了齿轮状的铰链设计,齿轮板具有容纳轴 #82 的开口 #84,以便齿轮板可以绕轴旋转。
外壳 (#12) 的一半绕轴 #28 旋转时,板的配合齿使外壳的另一半同步旋转。

